好期待车门会斜向上15度开启的 Mazda RX-9 ,一定很帅!

近来 Mazda 似乎都在忙着申请专利,既早前的双涡轮引擎专利,这次澳洲媒体motoring.com又爆出了该品牌在美国专利注册局递交了新型车门的专利申请,什么样的车门呢? Swan Wing Doors 『天鹅翼』门是也!不用猜都应该知道是开发给 Mazda RX-9 的对吧?

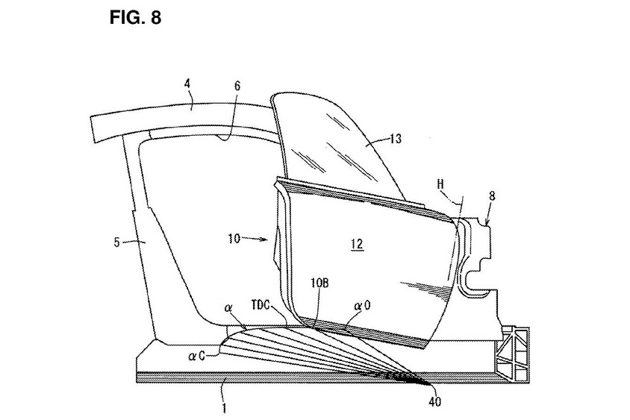
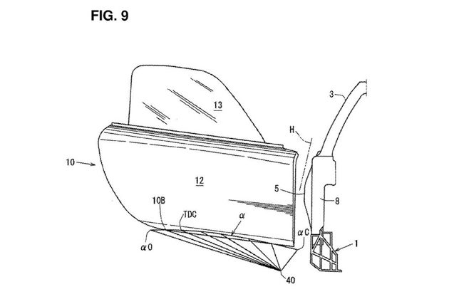
新的车门结合了传统侧边开启与超跑式的『鸥翼门』Gull Wing Doors 的长处,借由新的车门铰链结构设计能让车门在做传统向外开启之余还能以一定的角度向上开启,主要的原因还是为了防止过低的车门在开启时还磨到旁边的路墩,当然这样的车门在视觉效果上也是非常地帅,就一个字:型!


至于不直接套用超跑的『鸥翼门』的原因主要在于采用气压式阻尼的设计会增加重量,Mazda也在专利申请文里提到将会简化此车门的结构设计,以达到轻量化的目的。根据专利图显示,Mazda将会采用特别设计的扭力杆来支撑车门最大角度的开启,值得一提的是Aston Martin也采用类似的车门设计于旗下所有车型,并可作向上12度的开启,而Mazda在专利申请则提到将会向上作15度的开启。

随着这项专利申请的曝光,再度显示原厂有意量产化RX Vision概念车的决心,毕竟这样的车门设计最大可能就是放在量产版的双门跑车 Mazda RX-9了;全新的RX-9预料将搭载SKYACTIV-R转子引擎,最大马力将突破400hp大关,车重少于1,300kg的新车对手瞄准了同样将在东京车展亮相的 Toyota Supra ,想到今年的东京车展会有两大日系经典跑车一同亮相小编就觉得有点小兴奋!
Mazda RX-9 『天鹅翼』车门专利申请 :







