Mazda 又有新引擎专利,这次轮到双涡轮加电子增压!

不久前 Mazda 才公布了新一代蓝天创驰 SKYACTIV-X 引擎,结合了柴油与汽油引擎技术的SPCCI火花控制压缩点火技术堪称一绝,就在我们以为该品牌选择坚持自然进气引擎的当儿,美国却爆出了 Mazda 在当地注册局申请了一份引擎专利设计图,而这次竟是双涡轮引擎!

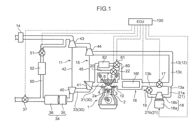
根据该份曝光的专利设计图,Mazda这具疑似为柴油引擎的设计不但搭载了两具传统涡轮增压器,还额外增设了电子增压器(让小编想起了Mercedes-Benz对新一代A45引擎的做法),相信是用来抵消涡轮在低转数时的迟滞现象,等到转数提高时才由双涡轮组合接手,以营造更为饱满的线性加速。

有别于多数电子增压由48V供电系统驱动,Mazda或将采用自家的i-Eloop刹车动能回收系统中负责储存回收电力的电子双层电容器(EDLC)来供应电子增压器所需要的电力。另外值得一提的是,这项引擎专利设计显示该具引擎采用的是后轮驱动设定,就不知道会不会是为该品牌唯一的FR车款—Mazda MX5而设呢?

不过考虑到Mazda对MX5设定的路线在于驾驶乐趣多过性能表现,相信这样的可能性不大,毕竟后驱设置的动力配置也可用于大型房车或甚至SUV车型,而且如同许多专利申请一样,这样的开发设计也很有可能落得没有被量产化的下场。
Mazda 双涡轮引擎专利设计图 :




